Retriever Medical Secures Hong Kong Patent for Dual-Sphere Thrombectomy Technology
Hong Kong patent strengthens Retriever Medical’s global IP for its dual-sphere thrombectomy platform targeting venous thromboembolism.
This patent further strengthens our global IP foundation and validates the breakthrough design principles driving Retriever’s full-spectrum thrombectomy platform.”
LAS VEGAS, NV, UNITED STATES, November 12, 2025 /EINPresswire.com/ -- Retriever Medical, Inc., a developer of next-generation mechanical thrombectomy systems for venous thromboembolism (VTE), today announced the issuance of Hong Kong Patent HK 40036984, titled “Catheter-Based Retrieval Device with Proximal Body Having Axial Freedom of Movement.”— Ben Bobo
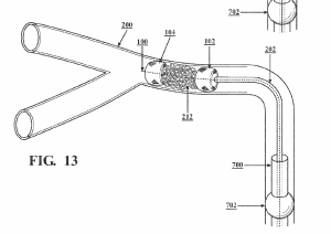
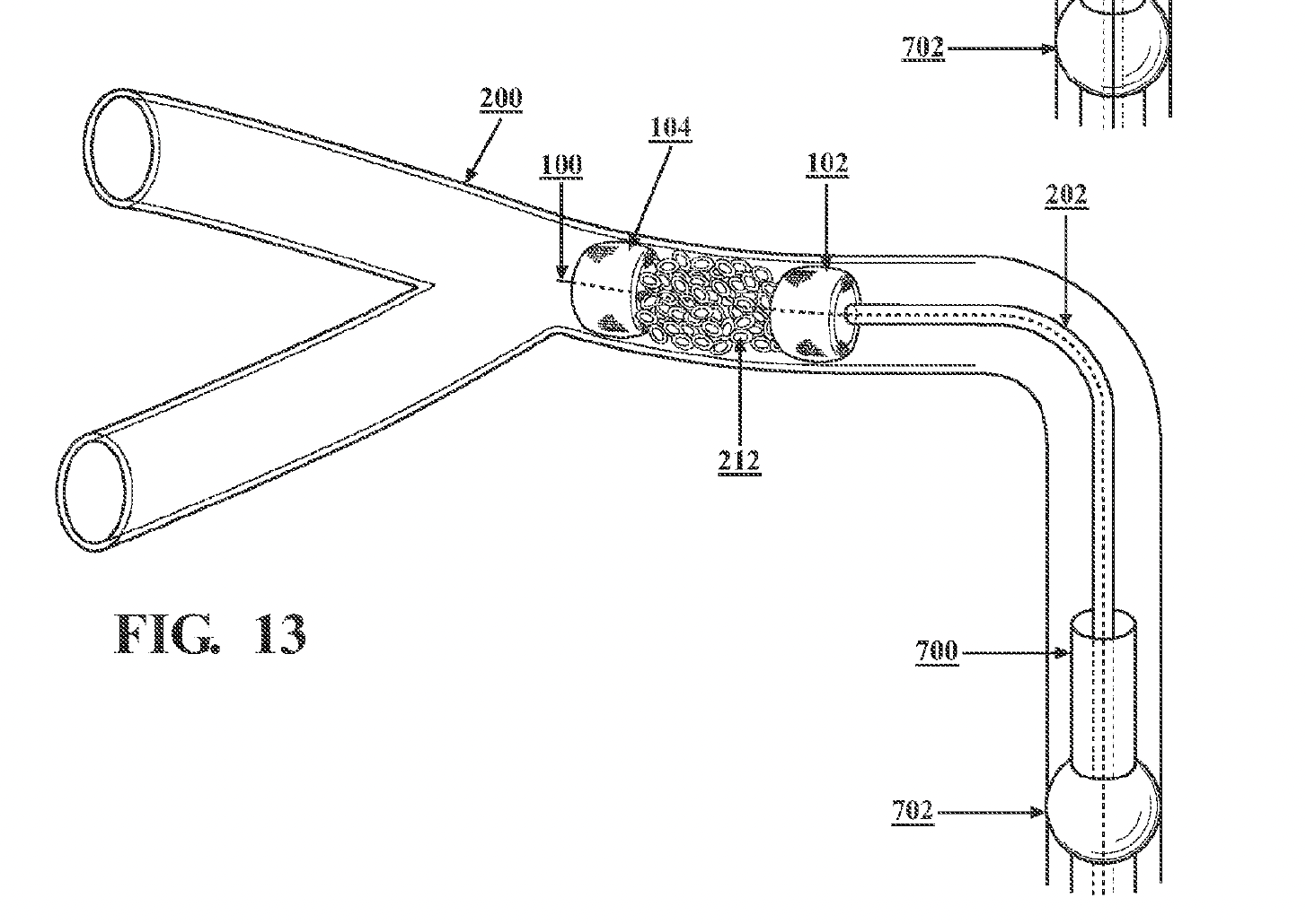
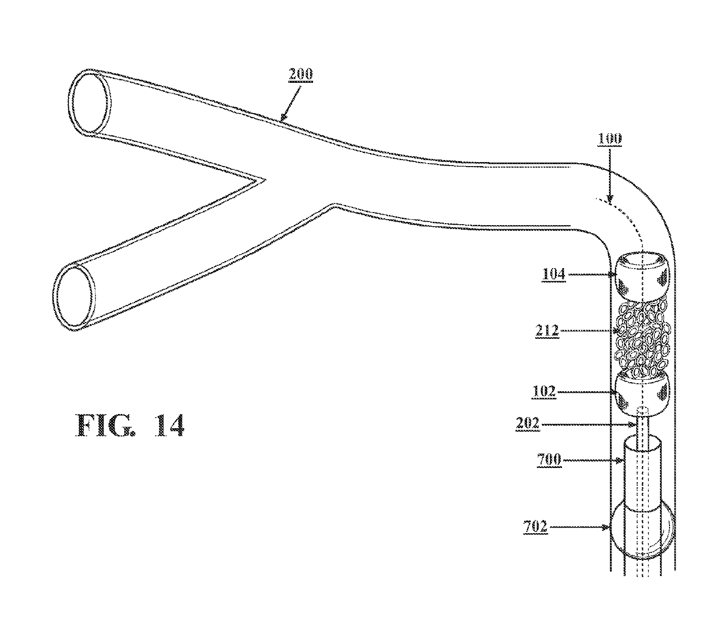
The newly granted patent extends protection of Retriever’s core dual-sphere capture-and-compression technology, which enables complete thrombus capture and single-device compression across complex vessel anatomies. The Hong Kong issuance is based on Retriever’s granted European Patent EP3697325B1 and adds to an expanding international patent family that includes multiple U.S. issuances and filings across Europe, China, Japan, Australia, Canada, and Mexico.
This new grant strengthens Retriever Medical’s global intellectual property portfolio in a strategically significant region adjacent to mainland China — an important future hub for manufacturing, regulatory expansion, and commercial distribution.
Key Patent Claims Protect
> A dual-body retrieval system (proximal + distal) capable of surrounding and fully capturing thrombus
> Axial freedom of the proximal body, enabling compression of clot without multiple device exchanges
> Cross-domain applicability across vascular and non-vascular spaces — including arteries, veins, ducts, and ureters
Ben Bobo, CEO of Retriever Medical, commented:
“This issuance reinforces our dominant global IP position covering full-spectrum thrombectomy. With 18 issued patents and 18 pending applications worldwide, we’re protecting a platform that changes how physicians remove clot — not just in acute cases, but in sub-acute and chronic disease where today’s systems fail.”
This Hong Kong patent follows Retriever Medical’s successful design validation testing in bench and animal studies conducted with an independent evaluation partner, further supporting the company’s mission to advance safe, effective, and fully comprehensive clot retrieval technologies. The company continues to expand its portfolio of minimally invasive thrombectomy systems designed to improve clot removal efficiency, reduce device exchanges, and broaden treatment options for patients with venous and mixed-etiology thrombosis.
About Retriever Medical
Retriever Medical, Inc. is a privately held medical technology company advancing next-generation mechanical thrombectomy systems for the treatment of venous thromboembolism (VTE) and other vascular occlusive diseases. The company’s proprietary dual-sphere retrieval platform is engineered to deliver complete clot capture, compression, and removal across acute, sub-acute, and chronic cases. With a growing international patent portfolio and multiple preclinical validation milestones, Retriever Medical is redefining the standard for full-spectrum thrombectomy.
Ben Bobo
Retriever Medical, Inc.
+1 714-654-2367
email us here
Visit us on social media:
LinkedIn
Instagram
Facebook
X
Legal Disclaimer:
EIN Presswire provides this news content "as is" without warranty of any kind. We do not accept any responsibility or liability for the accuracy, content, images, videos, licenses, completeness, legality, or reliability of the information contained in this article. If you have any complaints or copyright issues related to this article, kindly contact the author above.

